September 2022
September 2022
Abo

Flachdachaufbauten aus Metall – ein interessantes Nischenprodukt

Metall und Natur

Begehbare Flachdächer benötigen Brüstungen. Wie Bauherr Daniel Gerber nach einer eigenen Lösung suchte und so ein modulares System entwickelte, darüber berichtet er im Gespräch mit der «metall». Was er mit diesem neu entwickelten System künftig vorhat, könnte für innovative Metallbauunternehmer*innen interessant sein.


Login

Danke für Ihr Interesse an unseren Inhalten. Abonnenten der Fachzeitschrift metall finden das Login für den Vollzugriff im Impressum der aktuellen Printausgabe. Das Passwort ändert monatlich.


Jetzt registrieren und lesen. Registrieren Sie sich um einzelne Artikel zu lesen und einfach per Kreditkarte zu bezahlen. (CHF 5,- pro Artikel)
Als registrierter Benutzer haben Sie jederzeit Zugriff auf Ihre gekauften Artikel.

Sollten Sie als interessierte Fachkraft im Metall-, Stahl- und Fassadenbau die Fachzeitschrift metall tatsächlich noch nicht abonniert haben, verlieren Sie keine Zeit und bestellen Sie Ihr persönliches Abonnement gleich hier.

Eine gelungene begrünte Flachdachaufwertung: Pflanzenbehälter mit Staketengeländer und Teilen der Pergola vom Innenhof aus gesehen.
Eine gelungene begrünte Flachdachaufwertung: Pflanzenbehälter mit Staketengeländer und Teilen der Pergola vom Innenhof aus gesehen.

 

Metall und Natur

Flachdachaufbauten aus Metall – ein interessantes Nischenprodukt

Begehbare Flachdächer benötigen Brüstungen. Wie Bauherr Daniel Gerber nach einer eigenen Lösung suchte und so ein modulares System entwickelte, darüber berichtet er im Gespräch mit der «metall». Was er mit diesem neu entwickelten System künftig vorhat, könnte für innovative Metallbauunternehmer*innen interessant sein.

Text: Redaktion / Bilder: Daniel Gerber

Interview

Eine schöne Oase haben Sie da, Herr Gerber. Man würde diese gelungene grüne Dachfläche von der Strasse her nie erahnen. Wie kamen Sie dazu?

Das Flachdach dieses Anbaus aus den Siebzigerjahren, einer ehemaligen Malereiwerkstatt, war undicht geworden. Eine Reparatur war nötig. Als sich auch die Holzlage darunter an einigen Stellen als morsch erwies und die Stahlkonstruktion rostig war, da musste ich eine Totalsanierung planen. Stehen blieben nur die Stahlkonstruktion und einige Wände. Den Wintergarten im Innenhof liess ich von einer Metallbauunternehmung ausführen. Während des Baus stellte sich die Frage, wie die grosse Dachfläche genutzt werden soll.

 

Wer oder was brachte Sie auf die Idee, eine grüne Oase anzulegen?

Das bisherige Erscheinungsbild des kiesbedeckten Flachdachs und der bituminösen Oberfläche des direkt angebauten Nachbargebäudes glich einer Stein- und Asphaltwüste. Der Lieferant der Gummiabdichtung unterhält selbst einen riesigen Dachgarten. Dies inspirierte mich, und schon bald war ich vom Zusatznutzen einer extensiven Begrünung überzeugt.

Heute: vorne ein mit Minikiwi bewachsener Spalierbogen, hinten Himbeerranken am Geländer.
Heute: vorne ein mit Minikiwi bewachsener Spalierbogen, hinten Himbeerranken am Geländer.

 

Welcher Zusatznutzen?

Davon später, denn erstmal gab es viel zu planen und zu bauen. Es galt, die Gebäudestatik für die zusätzliche Belastung zu berechnen und die Konstruktion zu verstärken. Die Gestaltung und Bepflanzung plante ein Gärtner mit Erfahrung für Dachgärten. Doch wie die Geländer befestigt werden sollten, war mir noch nicht klar.  

Was genau war das Problem?

Das Problem lag darin, dass ich nirgends die Dachhaut durchdringende Verankerungen anbringen konnte resp. wollte und trotzdem statische Stabilität gewährleisten musste.

Gibt es nicht schon solche Systeme?

Ja, tatsächlich gibt es einzelne Systeme auf dem Markt. Doch mir schwebte eine Lösung vor, mit der ich bepflanzbare Behälter zur Verankerung der Geländer verwenden konnte. Ausserdem wollte ich auch in die Höhe bauen. Pergolen, an denen aus den Pflanzentöpfen Reben emporwachsen und Kiwis an Rankgerüsten hoch über Spalierbögen klettern.

Das Ergebnis wirkt beeindruckend und scheint bestens gelungen zu sein. Sie wollten einen Edelstahl-Garten-Eden bauen?

Der Edelstahl verschwindet zusehends unter Blättern. Eine Oase mitten in der Stadt ist es geworden, die zusätzlich das Dach hervorragend isoliert und so auch das Raumklima im Sommer angenehmer macht. Nicht zu vergessen die Gemüse- und Beerenernte für uns Bewohner.

Gibt es noch weitere Vorteile?

Sie haben es bestimmt gehört, das Summen der Insekten. Sehen Sie die Wasserläufer auf dem Teich? Und stünden wir nicht hier, so wären die Vögel im Brunnen am Baden. Biodiversität also. Ausserdem gibt es einen Nutzen für das Stadtklima. Und was die Retention anbelangt, so hält das Pflanzensubstrat samt der Wasserspeichermatte eine ganze Menge Wasser zurück. Das ist bei Starkregen wichtig, da sich im Idealfall das Wasser erst in die Kanalisation ergiesst, wenn das Gewitter abgezogen und das Oberflächenwasser der versiegelten Böden abgeflossen ist.

 

Die gezeichnete Vision des Dachgartenbauers.
Die gezeichnete Vision des Dachgartenbauers.

 

Alles bestens, aber die «metall» ist die Zeitschrift für Metallbauer und Architekten, weniger für Beeren- und Gemüsehändler. Wie bewähren sich denn all die technischen Aufbauten?

Ja, klar: Für die Fachleute vom Metallbau sind die Behälter und Rankgerüste wichtiger als deren Inhalt. Eine Herausforderung für sie ist es, diese so zu bauen, dass die Pflanzen gut gedeihen. Ausserdem muss die Handhabung für die Menschen, die sich um die Pflanzen kümmern, einfach sein.

Trifft das zu für alles, was wir hier sehen?

Diese Prototypen haben sich über eine Dekade gut bewährt. Doch es musste vorwärtsgehen damals bei Planung und Bau. Lieber hätte ich mir etwas länger Zeit genommen. Ich bin Mechaniker und Maschinenbauingenieur und habe früher einige Systeme entwickelt. Man muss möglichst alle Aspekte im Auge behalten.

Die sanierten Flachdächer: extensive Begrünung neben Holzterrassen und einem Teich, Staketengeländer an Pflanzenbehältern befestigt. Manche tragen zudem die Stützen mit Rankhilfe der noch nicht bepflanzten Pergolen.
Die sanierten Flachdächer: extensive Begrünung neben Holzterrassen und einem Teich, Staketengeländer an Pflanzenbehältern befestigt. Manche tragen zudem die Stützen mit Rankhilfe der noch nicht bepflanzten Pergolen.

 

Und, haben Sie alle beachtet?

Nein. Das Neubepflanzen ist bei meinem System aufwendig. Darum habe ich dieses weiterentwickelt und manches daran optimiert. Weniger und einfachere Bauteile. Die Montage ist noch einfacher geworden. Und die Neubepflanzung, wenn die alte vom Wurzelwerk durchdrungene Erde entfernt werden muss, wird einfacher.

Werden Sie die Prototypen hier durch verbesserte Systeme ersetzen?

Nein, ich komme mit dieser Konstruktion gut zurecht. Neubepflanzen war in all den Jahren noch nicht nötig.

 

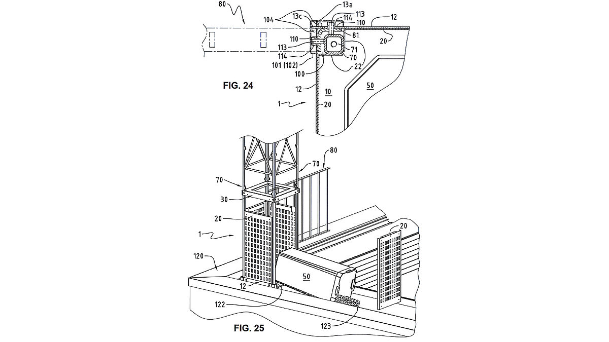
Ausschnitt aus den Patentzeichnungen: verschiedene Elemente aus Metall mit den entsprechenden technischen Lösungen.
Ausschnitt aus den Patentzeichnungen: verschiedene Elemente aus Metall mit den entsprechenden technischen Lösungen.

 

Was haben Sie vor?

Ich selber bin pensioniert, arbeite als Freelancer in einer Patentanwaltskanzlei und widme mich daneben diversen Systementwicklungen. Ich hatte nie die Absicht, selber solche Systeme anzubieten. Wenn sich eine Firma findet, die das Knowhow samt den virtuellen und realisierten Modellen und Prototypen und dem Patent zu übernehmen bereit ist und das System auf dem Markt etablieren will, so trete ich alles zu den Selbstkosten oder gar noch darunter ab. Wichtig scheint mir, dass fortgesetzt wird, was gut angefangen und sich bewährt hat. Ich selber habe meinen Dachgarten gebaut und will mich anderen Aufgaben zuwenden.

Welche Chancen geben Sie dem System?

Jedes zweite neu erstellte Gebäude hat ein Flachdach. Ich fahre oft mit dem Fahrrad durch ein Quartier, das gerade verdichtet wird. Wo vorher kleine Einfamilienhäuser auf grossen Grundstücken standen, da werden nun nach und nach vierstöckige Gebäude gebaut, welche die Parzelle grösstmöglich ausnutzen. Es ist eine Illusion, dass die Natur, welche dem Boden beim Bauen geraubt wird, auf dem Dach vollständig zurückgegeben werden kann. Dass zumindest eine Teilkompensation möglich ist, liegt auf der Hand. Es spriessen auf dem Dach nicht nur die Pflanzen, es reifen in den Köpfen auch die Einsichten. Und wo diese noch hinterherhinken, sorgen die wachsenden Vorschriften zunehmend für grüne Dächer.

Eines der weiterentwickelten Modelle zeigt verschiedene Elemente. Alles Lösungen, die sich ohne Dachhautdurchdringungen realisieren lassen.
Eines der weiterentwickelten Modelle zeigt verschiedene Elemente. Alles Lösungen, die sich ohne Dachhautdurchdringungen realisieren lassen.

 

Wie war es hier mit den Vorschriften?

Solche bestanden noch nicht. Aus eigenem Antrieb mit Lust etwas Sinnvolles zu tun, steigert die Freude.

Kontakt:
Daniel Gerber, Bern
dgerber17@gmx.ch   

Das Fachregelwerk Metallbauerhandwerk – Konstruktionstechnik enthält im Kap. 2.12 wichtige Informationen zum Thema «Fassadenbegrünung».